近期终于迎来油价下调,为啥感觉加油的人不增反减?
的有关信息介绍如下:油价下调?从今年开始,已经经过6次调整,油价只有上涨,根本没有降价的现象,现在的92#汽油已经涨到了7元/升左右,如果说是相比于之前涨到8、9元/升来说,那肯定是降了。

经过了6次的调整都没有把油价弄下来,本周五(4月26日)降迎来第7次调整,其实已经可以预知到油价将会继续往上升,至于幅度多大就不得而知了。
买车容易养车难,这句话说的并没有错,现在汽车的价格越来越低,而买车的人越来越多,几万块钱就能够买到一辆车,但油价的持续上涨却让众多车主连连叫苦,碰上一些“油老虎”,那一脚油门下去就是几块钱,根本不划算。

至于问题上所说的,为什么油价下调,加油的人反而变少了,可以肯定地跟你说,油价并没有下降,就算油价下降,加油的人变少也是可以理解的,你可以算一下一辆车一年的花费有多高,最少都要1.5万左右,这样算下来,很多人都选择打车,坐着舒服还比自己开车划算。
我相信很多人都选择放弃开车而选择骑电动车,但现在连电动车也被限制了,时速只能达到25km/h,一个行人快走两步都不比它慢,如果违规骑电车被查,12分就交代在哪里了。估计会越来越多人最后选择骑自行车或者步行。

很多人买车第一句话就是:这车油耗高吗?之所以这么问,就是因为油价一直在上涨,买车的钱都不够去加油,不过私人油站的汽油就会便宜很多,当然也不用担心油价便宜,油品就差,私人油站的油也是从两桶油哪里买回来的,我加了半年的私人油站,汽车还不是照样跑,主要是价格便宜很多。
国内油价啥时候下调了!2019年除了一次搁浅、一次因增值税调整下调油价以外,其余六次不都是一直在上调么!而很快(4月26日)又将迎来“第七”次上调,如此涨势,人们出门减少开车不是必然的么,自然去加油的人就少啦!

2019年,国内油价调整情况
从年初至今,国内成品油调价窗口一共开启过8次,分别为1月14日、28日,2月14日、28日,3月14日、28日、31日,4月12日。其中3月14日,油价搁浅;3月31日,因国内增值税由16%调至13%,下调三个百分点,导致油价下调;其余六次,都是上调的!
而在短短不到5个月,国内汽、柴油供应价格累计已分别上调了680元/吨、675元/吨。与此同时,92#油价也从年初的6.42元/升上涨至6.96元/升,涨幅为﹢8.41%(江苏地区)。相当于每加满50L油,价格比年初多出27元,基本上够我一个星期的早饭钱了!

国内油价或将迎来年内“第七涨”,92#油价全面进入7元时代
4月22日,伊朗对外宣称在必要的时候,会封锁霍尔木兹海峡,以抵御美国的威胁!这进一步加大了市场对于原油供应可能出现短缺的担忧,国际原油价格应声上涨!布伦特原油价格每桶突破74美元,最高达到74.73美元,纽约原油价格也冲高至66.6美元/桶!

受此影响,4月26日,国内油价大概率是会再次上调的!据第三方机构监测数据显示,截止到4月23日,此轮调价周期内,原油综合变化率为﹢2.93%,预计汽、柴油供应价格或将再次上调140元/吨,折算成92#油价将上调0.11元至7.07元/升,国内油价不仅将迎来年内的“第七涨”,还将全面进入7元时代!

总之,国内油价马上就将“第七涨”咯,哪里会下调啊!而油价上涨,开车的人变少,自然去加油站的人也就少了,如果再这么涨下去,估计以后过马路都不要看红绿灯咯!
欢迎大家在评论区留言交流!财经问题就请点击关注【财经者思】,记得多多点赞哦!!!

有网友提问,近期终于迎来了油价下调,为啥感觉加油的人不增反减?实际上,今年只有3月31日,因国内增值税由16%调至13%,下调三个百分点,导致油价下调一次外,其他多数时间油价都在上涨。至于感觉加油的人为啥越来越少了,因为一辆车一年花费最少要1.5万左右,这样算下来,还不如选择打车更划算。
先看数据,从年初至今,国内成品油调价窗口一共开启过8次,分别为1月14日、28日,2月14日、28日,3月14日、28日、31日,4月12日。其中3月14日,油价搁浅;3月31日,因国内增值税由16%调至13%,下调三个百分点,导致油价下调;其余六次,都是上调的!所以,网友所问的油价下调,很可能是近期国家下调增值税率,油价也一同下降。但国内成品油价总体趋势是上涨的。
那么,年初至今国内成品油价究竟涨了多少呢?而在短短不到5个月,国内汽、柴油供应价格累计已分别上调了680元/吨、675元/吨。与此同时,92#油价也从年初的6.42元/升上涨至6.96元/升,涨幅为﹢8.41%(江苏地区)。相当于每加满50L油,价格比年初多出27元。油价的持续上涨让众多车主连连叫苦,很多人买车时问的第一句话:“这车油耗高吗”?因为车买得起,油价支撑不起。
现在大家都在担心,未来油价还会继续上涨吗? 4月26日,国内油价大概率是会再次上调的!据第三方机构监测数据显示,截止到4月23日,此轮调价周期内,原油综合变化率为﹢2.93%,预计汽、柴油供应价格或将再次上调140元/吨,折算成92#油价将上调0.11元至7.07元/升,国内油价不仅将迎来年内的“第七涨”,还将全面进入7元时代!
而且,我们认为短期内国际油价上涨趋势无法改变,国内成品油价上涨已成定局:一方面,美国政府近日宣布自5月1日起解除对8个国家对伊朗进口石油的特别许可令,意图扼杀伊朗的出口经济。而伊朗则对外宣布在必要的时候,会封锁霍尔木兹海嶝,以抵御美国的威胁,这会使原油市场价格应声而涨。至少在短内涨势不可避免。
另一方面,尽管俄罗斯宣布将在今年9月份退出与OPEC达成的增产计划。但现在离开9月份还有好几个月的时间。目前,俄罗斯与沙特等国的联合减产,使国际原油价格出现供应短缺的问题,更何况委内瑞拉的石油出口又被美国封锁,国际油价上涨还有一定空间。国内成品油价格也会跟着上调。
网友感觉到好不容易看到油价降了,主要是增值税率下调,成品油价降了。而感觉加油的人不增反减,主要是很多人不再开车出行,换成了其他方式出行了,因为大家买得起车,但是耗不起油。当然建议有车一族,可以选择民营加油站去加油,民营加油站的油可能比国营加油站更便宜一些。

今天是2019年4月28日,刚得知大洋彼岸的美国汽油均价上涨20%后升至2.88美元一加仑。经过详细计算,一加仑是3.7854升,一美元就是6.7282元人民币,美国最新的油价折合5.12元人民币一升。在研究美国油价的时候,我们千万不能忘记美国人均收入起码是我们的七八倍,只对比商品价格不对比收入是非常不文明的行为。
接下来我们再来看国内油价调整情况:

截至今天,2019年油价已经调整8次搁浅一次,其中上调7次,下降1次,油价呈现稳定上涨趋势。
对于多数普通人来说,今年物价上涨的幅度更为明显,房价还在涨,猪肉也在涨,油价依然在涨。猪肉贵了可以少吃点,但是油价涨了车却不能少开,毕竟猪肉少吃点更加健康,习惯了开车再去挤公交车就不好受了。有趣的是,某些一线城市限号出行,结果很多家庭为了能开车上下班,选择了买两辆车方便每天有车开,反而增加了交通拥堵和资源占用。
昨天去一家民营加油站加油,92号汽油周末有优惠,6.11元一升,比两桶油的加油站普遍低0.5元以上,最多相差近1元。正因为加油有优惠,每到周末这个加油站排队的情况很常见。
毫无疑问,2019年的油价一定是涨多降少的格局,最终油价超过7.5元一升也很正常。毕竟汽油的成本是本世纪一大谜案,伊朗遭遇制裁使得国际原油供应受到影响,加上国内桶贵,涨价才是唯一出路。
如今消费者已经适应了油价上涨,当前油价相对于物价涨幅来说还可以接受,因此并不会因为涨两三次就减少用车,该开还是要开的。对于一般的车主来说,更习惯油剩的不多了再去加油,而不是看到降价了就一窝蜂去加,毕竟降价也好涨价也罢,总能最短持续两三个星期。
经过多次对比,民营加油站的汽油质量也不错,动力和油耗与两桶油没有明显区别。在油价持续上涨的时候,选择一家相对靠谱并且经常做活动的民营加油站也是不错的选择。

2019年以来,国内油价是六涨一降,总体油价更是上涨了不少,现在价格是6.99元,已经是接近7元的状态了.在这样的油价下,肯定很多人都选择了购买电动车,少开燃油车,多坐公交或地铁出行。因此,加油的人就少了。

2019年油价涨幅巨大
2019年以来,我国油价经历了七涨一降的过程。2019年,国内成品油零售限价经历7个调价窗口,为“六涨一降”。一降是指因增值税率调整,自2019年3月31日24时起,国内汽、柴油最高零售价格每吨分别降低225元、200元。
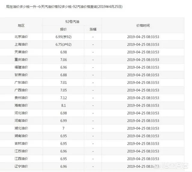
今年以来,不到5个月,我国成品油价已经调整了7次之多,涨跌相抵,国内汽、柴油价每吨累计分别上调680元、675元。北京地区92号汽油从6.44元调整到现在的6.99元,涨幅达到了8.38%,这样的涨幅也是让人直呼受不了。

未来油价可能进一步上涨
2019年以来,欧佩克及俄罗斯产油大户持续减产,这样的行动造成石油市场供应趋紧。根据有关数据,3月份欧佩克原油产量已降至3000万桶/日左右,较去年10月的高位下降超过230万桶/日。
而最近美国声称针对伊朗制裁进行升级,这样的制裁会影响伊朗的石油生产和出口,这样的制裁极大可能会降低世界原油供应,导致原油供应紧张。4月23日,国际油价延续上涨势头,截至收盘时,纽约商品交易所6月交货的轻质原油期货价格上涨0.75美元,收于每桶66.3美元,涨幅为1.14%。6月交货的伦敦布伦特原油期货价格上涨0.47美元,收于每桶74.51美元,涨幅为0.63%。
因此,在伊朗局势的影响之下,国际油价可能还会上涨。而国际油价上涨,可能导致我国成品油价进一步上涨。因此,现在92号汽油价格已经在6.98元了,4月26日调价涨到7元以上肯定是大概率的事情了。
电动汽车增加较多
这两年,购买电动汽车的人越来越多了。现在在街上随处可见挂着绿牌的电动汽车。这些电动汽车的增多增加了电力需求量,但是却相对减少了加油量。
据乘用车联合会统计数据,2019年一季度国内乘用车总销量507.7万辆,同比下降10.5%。在刚过去的三月份,乘用车销量达到了174万辆,同比下降12.1%。但新能源车型市场销量在今年一季度表现亮眼,累计销量达到25.4万辆,同比增长117.8%。
显然,今年以来新能源车增长迅猛,比上年同期销量增加了117.8%。占到了一季度乘用车总销量的5%。从这个比例来看,我国新能源车还有较大的增长空间。如果油价继续上涨,相信会有更多的人会选择新能源车。
综上所述,进入2019年以来,我国经历了六涨一降的调价,总体油价从年初的6.44元涨到了现在的6.99元。在这样的涨幅下,好多人选择了购买电动汽车,还有很多人开始减少开车,乘坐公交地铁。因此,到加油站加油的人就少了。
感谢阅读!
2019年至今的油价调整情况
2019年的油价调整日期始于2019年的1月14日,截止目前一共进行了8次调整,其中除了一次搁浅(3.14日调整期国际油价变动较上一次调整日的变动为45元/吨,低于50元/吨的调整标准)、一次因增值税调整下调油价(2019年3月31日)之外,其余六次均为上调(并没有下降),截止目前,较2018年度,我国的汽油价格累计已上调了680元/吨。
PS:2019年3月31日24时,因为国家下调3个点的增值税税率,所以国内的油价跟着下调,这个属于特殊事件,非我国的油价调整日。


2019年4月26日的变动趋势
明日即我国2019年的第八个油价调整窗口日,那么此次会油价会继续上行还是下降呢?根据最新的原油变化率监测表显示,预计2019年4月26日,国内的油价会上调155元/吨(折算为升的话,大概加油每升会多花0.13元左右,一箱50升的汽车,大约需要较以往多花6.5元),所以近期根本没有下降的趋势。

后续的油价变动情况
如果不出意外,今年国内的油价会一路继续上升,2018年5月8日,美国宣布退出伊核协议,并要求各国在2018年11月前停止对伊朗原油进口,否则将对这些国家进行制裁。不过后续在2018年11月的时候,美国又给了中国、印度、韩国、日本、希腊、意大利、土耳其和中国台湾等8个国家及地区6个月的豁免期(在豁免期内可以继续进口,美国不予制裁),这个豁期将于2019年4月底到期,而美国已经在2019年4月22日明确表示将不再给予部分国家和地区进口伊朗石油的制裁豁免,以达到全面禁止伊朗石油出口,切实对伊朗形成经济制裁。
所以从5月份起,国际市场上将会减少伊朗这个石油出口大国的原油供应了,目前伊朗的日出口原油大概在100万桶/天,这个供应量短期内,其他国家那本无法弥补,因此预计未来几个月内,国际油价仍然是处于上升的趋势。
近期油价下调,感觉加油的人不增反降?好像还没有对这样的场景有印象。
一个经济数据的出现,是相对比较有逻辑,有证据的。经济学是一个实证学科,不是一个想象学科。
“感觉加油的人不增反减”,这有可能,今年以来油价总体攀升,车主少开点私车,多用点公共交通工具是有可能的,但是这样的变化应当也不易觉察。再跟“近期终于迎来油价下调”结合起来,因为没有什么印象,所以就得梳理一下今年以来油价变动的情况。
首先,油价涨跌有市场逻辑在里面,是否加油也有具体行为决定。油价下调与加油的人不增反减没有构成直接的逻辑关系。
一般来说,油价上涨当天,不少开车人为了节约一点零花钱,会排队加油,这种事情以前经常发生。而油价下跌当天,很多人会忍一忍,等油价下跌之后再加油。现在大家赚钱不容易,所以这是正常的现象。
感觉加油的人不增反减,是某一个加油站的事?还是一个城市加油站都这样?有经过调查么?
如果是开加油站的,那么就要调查一下为什么人们不爱去你的加油站加油。肯定有一些内在因素,比如你附近的加油站进行了促销或者什么特殊活动。
如果你说你调查了全城、全国的加油状况,那么可能性也不大,一没有这个必要,二还没有这样的专项发布。最重要的是,这得需要多少人,多少机构去进行这样一项调查,花费多少时间精力金钱!
其次,这问题的关键应当是,油价降了没有,或是有没有降到有点感觉。
今年以来,只有4月1日,因为宣布下调成品油增值税时,成品油价格才有大幅度下调,汽柴油价格分别下降225元和200元。其他时间油价都是上涨 的。
4月26日24时,国内成品油零售限价再次迎来上调,汽、柴油零售限价每吨分别上调195元、185元。折合升价,92#汽油、95#汽油和0#柴油每升分别上调0.15元、0.16元和0.16元。此轮油价上涨,是今年以来第七次上涨,这一次上涨将全部抵消因增值税税率下调带来的油价“福利”,全国大部分地区的汽油价格将再度进入“7”时代。
从国际原油市场的走向看,由于美国声称并威胁在要在5月零封伊朗石油,这也给市场带来较多的变数。归根揭底,油价能不能止涨,主要还得看主要的石油输出国会不会加大原油产量。
油价是多少开车的车主最为关心的问题,一箱油的多少决定了车辆的使用里程,同时也就是意味着一箱油的多少,决定了身上荷包的多少,油价这些年的波动也是很大的,近期有传言说油价要下调,加油的人不增反减?

说到这个话题还是比较有意思的,加油的人不增反减,主要有几个原因,第一种情况就是用车的需求决定了加油的次数,不管油价怎么的下调,一箱油下来也就是节省了那么十几块钱,所以对于一般的上下班代步的人来说,一箱油在原有的基础上多十几块或者几块钱

但是不影响到使用或者出行呢,所以这种情况来说的话,大多数的人都会选择到忽略,其次就是有些加油站也会不定期的搞一些活动,就是定期的在某个时段会推出一定的诱惑措施,如晚上几点加油优惠一到两毛钱等。

其次现在很多的油卡充值也是非常的方便的,甚至有些网站上充值油卡后会给出适当的油耗,那么也就抵消了一定的上涨或者油价下调所带来的不良影响呢,我想对于日常用车的来说的话,并不会因为油价的下调或者上涨所不良影响呢。
CMC车友会,悦之心、悦之行,交友、自驾、摄影、越野、漂移,活出精彩,中国汽车俱乐部旗下组织!欢迎加入CMC车友会大家庭!

国际油价在怎么低,中国油价就这样稳起。国际油价有一点涨,中国油价就跟涨。关键中国的几桶油还亏。你信吗?海湾石油广州卖了一天的5元多的油,立马遭封住了。老百姓都在喊让别人多亏些吧。把老百姓当傻子一样忽悠。
汽油涨价是拉动通货膨胀的黑手。



